首页
网站优化
网络营销
整站优化
网站托管
危机公关
营销网站
网站建设
微信开发
小程序开发
APP开发
解决方案
教育培训
工商注册
金融地产
法律法务
商务服务
网络服务
生活服务
汽车服务
机械制造
其他
成功案例
SEO优化
网站制作
公众号
小程序
SEO技术
百度优化
移动营销
网站运营
危机公关
关于我们
公司介绍
团队管理
代理加盟
联系我们
免费咨询电话
18810118859
首页
整站SEO
整站优化
网站优化
网站托管
危机公关
网站设计
网站建设
微信开发
小程序开发
APP开发
解决方案
教育培训
工商注册
金融地产
法律法务
商务服务
网络服务
生活服务
汽车服务
机械制造
其他
成功案例
SEO优化
网站制作
公众号
小程序
百度优化
百度优化
移动营销
网站运营
危机公关
关于我们
公司介绍
团队管理
代理加盟
联系我们
免费咨询电话: 18810118859
您现在的位置:
首页
>
解决方案
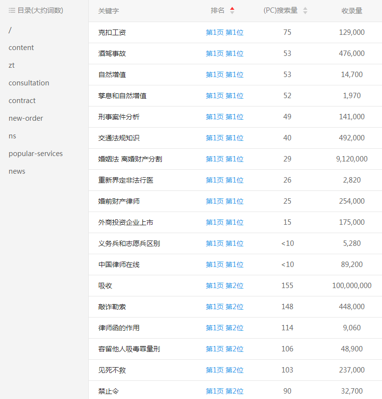
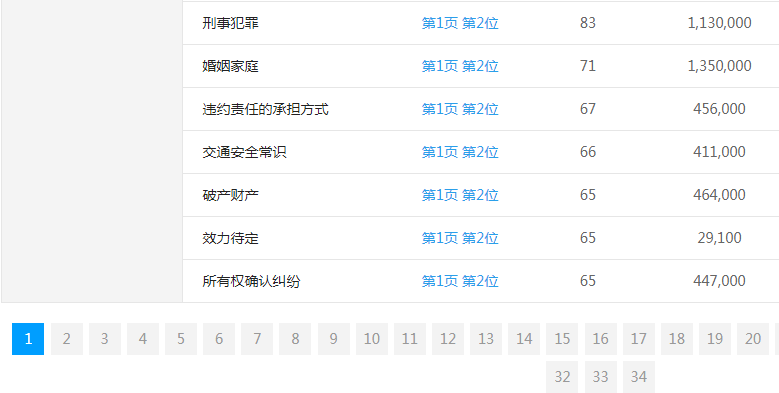
刑事案件seo整站优化案例
2024/4/8 9:07:36
上一篇优化:
防伪查询-百度优化案例
下一篇优化:
律师事务所-百度seo优化案例
返回顶部
推荐文章
网站优化,建设网站的过程中如何优化网…
优化网站,你不知道的实用的优化技巧
如何选择一家真正有实力的SEO公司?
网站分析:如何对网站进行诊断分析
网站优化排名的关键词布局方法是什么?…
热门文章
网站页面优化内容包括哪些?我们应该如…
网站内容优化:网站内容优化要遵循哪些…
网站关键词优化,整站SEO优化需要怎么做…
SEO优化:SEO优化方面常用的几个标签
单页面优化:单页面网站优化技巧有哪些呢…
优化网站有哪些技巧,如何做好网站优化